Kirk would employ a similar technique in a second invention from 1915: a new design for a washer to be applied to the screws which hold the mechanism to the neck.1 While admittedly a tiny change, this was one of which the firm seemed especially proud, going so far as to engrave a note honoring this patent on the action plates for many years to come (see figure 31).
This washer featured a metal “shell” surrounding a core made of cloth (the patent suggests felt). (Kirk 1915, p.1) The goal of the design was that the washer, when applied to the mechanism would allow the neck to expand and contract freely, while simultaneously securing the mechanism in place firmly (see figure 39).
The United States’ civil war dealt a fatal blow to these early American harp makers. The plantation-owning gentry of the South were an important clientele for these makers, and the division of the country would usher in the end of R&L Lewis in 1868, and a long decline in Browne’s output. A brief union with James Buckwell in 1872 would briefly revive the firm, but by 1879 the company began to transition into a repair workshop and sheet music retailer, with only a sporadic output of new instruments.
The end of regular manufacture of harps by Browne in 1879 would mark the beginning of a 19 year-long period during which there was no active American harp maker, although a second, all important, generation of makers was soon to emerge.
Patent no. 437,917 describes two important changes to Érard’s designs (Durkee 1890, patent 437,917, p.1). The first is a complete re-structuring of the action chains. While Érard-type harps relied on linkages connecting each set of natural and sharp fourchettes from E1 to B4, the new design consolidated these into a single linkage at the low end of the mechanism, such that this singular linkage served to action the entire chain (see figure 24, 25). This served multiple purposes. Firstly, it vastly simplified the assembly process, doing away with the excessively complex inter-weaving of Érard’s mechanism, which could take almost a day to assemble. Secondly, this simplified linkage system did away with both the internal and the external linkages of Érard’s design, allowing the application of patent no. 437,917’s second great innovation: the adjustable fourchette.
The Extended Soundboard
While Mr. Durkee is most well-known for his changes to the harp’s mechanism, this was far from his only area of interest. In 1895, he filed a patent on behalf of Lyon & Healy describing another well-known feature of many modern harps: the extended soundboard.2
The second problem that has always plagued the harp, after that of chromatic tones, is volume. What had started as a dainty fixture of the salon, used to accompany singers and entertain guests, had followed the trajectory of its “cousin” the piano, namely getting larger, sturdier, and most importantly louder. By the late 19th century, the harp was now a permanent member of the orchestra rather than an occasionally included novelty, and the now massive size of the orchestra demanded volume. The harp had, however, languished in development after the introduction of the Gothic harp in 1835, and this design had remained essentially unchanged until Érard’s closure. In an effort to “bulk up” the harp, George B. Durkee conceived of the extended soundboard.
This invention modified the body of the harp, adding two “wings” to each side of the base. These hollow spaces allowed for the vibrating surface of the soundboard to nearly double without interfering with the player’s feet (see figure 27).
While it is up for debate whether the extended soundboard truly increases the harp’s volume—some have argued that this is the case, while others have claimed that it simply makes the tone less clear—the supposed difference in volume was certainly a useful marketing tactic. In their 1916 catalog, the company extolls the virtues of the extended soundboard, claiming that—
“With it [the extended soundboard] was attained a maximum volume of tone… far greater than was thought before its triumphant demonstration. It has been a distinct Lyon & Healy feature for twenty years and is recognized as a superior point by harpists the world over.” (Lyon & Healy, 1916, 12)
The claims of difference in volume, real or imaginary, made the extended soundboard quite popular, and all of today’s harp makers employ the feature on their high-end models.
The American Harp
The mid 19th century saw the journey of the harp across the Atlantic. Likely relocating due to a crowded market in England, the first American harp makers came from London. The three first harp makers to have moved their businesses to the United States were James Hanley (ca. 1841), John F. Browne (ca. 1842) and R&L Lewis (ca. 1853). Of these makers, Browne was by far the most prolific, and the firm would survive well into the 1930s.
Browne's move is first evidenced by newspaper advertisements beginning in 1843. His earliest known advertisement in the United States comes from the New York Daily Herald, from April 12 of that year.3 Browne would be the first harp maker internationally to fully utilize newspaper advertisement as a means of publicity, running additional advertisements in the New York Daily Herald repeatedly in 1843, and later advertising in other newspapers throughout the United States.
The adjustable fourchette embodies the ethos of Lyon & Healy and the attitude of Patrick Healy towards the harp. He wanted something new, simple, and user friendly, and the adjustable fourchette was just that.
On Previous Érard type harps, the fourchettes from E1 to A3 were externally linked, and thus immovable. This was less than ideal. As harps age and the pedal wrappings compound with use, the exact length of the pedal rod required to produce the desired amount of rotation of the fourchettes changes, typically resulting in “under-motion,” wherein the fourchettes do not fully engage the strings, producing an unpleasant buzzing sound. This can be corrected by adjusting the pedal rod’s length to achieve the desired “grip” on the offending string, but, as a consequence, the intonation of each other string of the same note will be altered, requiring each of them to be adjusted to compensate. Durkee describes this issue in patent no. 437,917:
“It frequently happens that one or more strings of the same letter [note] will rattle between the sharping pegs or fingers [teeth], which are all arranged in pairs upon the several disks [sic]-as, for example, one or more of the seven E-strings may rattle, while no defect whatever will be noticeable in the remaining E-strings. This said disturbance may be caused by such wearing out of certain joints in the action as will involve lost motion, which said fault is developed and made manifest more at one or more points on the action than in the remaining parts thereof. When the foregoing defect arises, it has been customary to take the instrument to some skilled repairer of musical instruments, and thereupon the repairer adjusts one or more of the pedal-rods by adjusting the regulating-screws, at the base, the rods thus adjusted (shortened, for example) being the ones relating to sets of letters involving a rattling of one or more of the strings belonging to a set wherein the defect becomes noticeable. Said adjustment produces the desired result in so far that it checks the previously-existing rattling; but in thus adjusting any one of the rods, in order to check the rattling of one of the seven strings, which through the medium of said rod is subject to the action of a particular pedal, all of the remaining strings of said set will be subjected to an unnecessary action on the part of the sharping pegs or fingers by which they are engaged." (Durkee, patent 437,917, p. 1)
The issue of correcting the remaining strings’ pitches was a complex one. In the case of the strings equipped with externally-linked fourchettes, it was possible only by adjusting the moveable string nut, and then only those strings thus equipped, as the strings from C1 to G2 were fitted with fixed, rather than moveable nuts. This meant that the intonation of those strings possessing external linkages could be dubious at best. For those strings from B3 to G7, the intonation or grip of a fourchette was at the mercy of the position the fourchette fell into upon being fully screwed onto the spindle. This could only be adjusted in one of two ways: removal of the fourchette, then either filing the base of the fourchette or insertion of a shim overtop the spindle, so as to increase or decrease how far the fourchette was able to thread onto the spindle. This process was highly labor intensive and required an expert understanding of the instrument that was uncommon among harpists. In patent 437,917, Durkee laments this inadequate system of regulation—
“The extreme annoyance incident to the foregoing defect in the harp has been long felt not only by myself, but by many performers upon such instrument, and frequently I have been disposed to lay aside the best ‘Erard harp’ solely on account of a feeling of indisposition to play upon an imperfectly-tuned instrument.” (Durkee 1890, patent 437,917, p. 2)
Durkee’s solution to this problem was the “adjustable fourchette.” In his design, each spindle, in addition to the male threads allowing the attachment of the fourchette, was hollowed at its tip and drilled with female threads. This allowed an “adjustor screw” to hold the fourchette in place at any point along the spindle thread. Durkee describes this in his patent no. 437,919, also granted in 1890—
“The disks which are provided with the sharping-fingers [fourchettes] are arranged for rotary adjustment in either direction about the axes of the spindles, and as a means for permitting such adjustment each disk has a screw-threaded connection with its allotted spindle. These screw-threaded connections between the disks and spindles are attained by threading the outer ends of the spindles… and providing the disks with threaded sockets adapted to receive and engage with the threaded end portions of the Spindles…"4
The utility of this system was two-fold: in the case that an adjustment needed to be made, the screw could be easily removed, the fourchette repositioned, and the screw replaced, a significant change from the arduous process required to do the same on Érard-type instruments (see figure 26). It also allowed for the fourchettes to be repositioned laterally to compensate for any warping of the neck that comes with age, an issue impossible to remedy on Érard-type instruments by any means apart from universal removal and shortening of the string nuts or replacement of the warped neck. So useful was this invention in maintaining proper tuning that it is employed by all modern harp-makers. The nature of this all-important innovation points toward Durkee, and by extension, Lyon & Healy’s desire to make the harp simpler, cheaper, and more user-friendly. Indeed, this was a necessity for the American market. A Parisian or London-based harpist had the luxury of a multitude of harp makers close by to remedy any problems (which every harp has, eventually) but the harpist from Kansas City or Boise had no such luck. Thus, out of necessity, Lyon & Healy’s designs emphasized adjustability.
Lyon & Healy
Origins of the firm
The Lyon & Healy company was established in 1864 by American George Lyon, and Patrick Healy, a native of county Cork, Ireland. Healy’s family eventually emigrated to the United States, settling in Boston, Massachusetts. Healy would soon become a stock boy and clerk in a Boston music shop, developing an extensive commercial network in Boston’s music industry. Healy eventually came to the attention of Oliver Ditson, head of the Oliver Ditson Company, one of the largest music publishers of the era.5
In 1864, Ditson tasked Healy and his co-worker George W. Lyon with the opening of a new outlet for his business, offering the pair a choice of city in which to open the new branch: St. Louis, San Francisco, or Chicago. Upon visiting St. Louis and Chicago, Healy chose the latter city (Lyon & Healy, 1907, p. 13-14).
The Chicago of 1864 was not the metropolis that it is today. Indeed, Illinois had only been established as the 21st U.S. state 46 years prior, and Patrick J. Healy; an appreciation emphasizes the unlikelihood of Healy’s choice, noting that, at the time, it was a smaller city even than St. Louis, today the 69th largest city in the United States (Lyon & Healy, 1907). This choice of city would, however, prove fruitful with the impending industrialization of the Midwest, and the new company would post profits exceeding 100,000 USD in only their first year of operation (Lyon & Healy, 1907, p. 18).
Sometime before 1871, the company began to diversify into instrument sales, and in 1871, the company purchased the Smith & Nixon piano manufactory, pioneering the sale of upright pianos in Chicago (Lyon & Healy, 1907, p. 24).
In 1889, an important re-structuring of the company occurred. Healy and Lyon would come into conflict over the trajectory of the business, resulting in Healy’s payment of a large sum of money in exchange for use of Lyon’s name as well as his retirement from the firm (Lyon & Healy, 1907, p. 45). The break-up seems to have been a bitter one. Upon his official departure from Lyon & Healy, Mr. Lyon formed a new company: Lyon, Potter & Co., dealing in pianos.
With his departure from Lyon & Healy, Mr. Lyon took with him important business connections, most importantly his partnership with Steinway pianos. An 1890 article in The Inter Ocean describes “the single largest shipment in the history of the trade” on the behalf of Lyon, Potter & Co. comprising 20 train cars loaded with Pianos by other makers in addition to four cars loaded with “George W. Lyon’s improved patent pianos.”6 The same article names William Steinway as the president of the new Lyon, Potter & Co., and emphasizes the monumental change in the order of things represented by this shift, Lyon & Healy previously being the only licensed dealer of Steinway pianos.
Ever the more inventive of the two founders, Healy was constantly in pursuit of the new and innovative. By the late 19th century, having noticed a large volume of harps being sent to his firm for repair, Healy decided to create a new, more durable, and more reliable harp. Healy determined that his company would develop their own design for the instrument, one that would distinguish it from those of the famous Érard. Patrick J. Healy; an Appreciation quotes Mr. Healy thusly:
“Let us build a harp that will rank beside the American watch. Instead of each harp being a source of constant worriment to its player from its liability to get out of order, let us make a harp that will go around the world without loosening a screw.” (Lyon & Healy, 1907, p. 49)
His vision would, in time, be achieved.
Lyon & Healy’s 1916 catalog The Lyon & Healy Harp tells the story of the company’s first involvement with the harp as follows—
“With the growth of the population and culture in Chicago came a largely increased number of harps and the adjustment and repairing of such instruments for patrons in Chicago and the Middle West became quite an important feature at the Lyon & Healy factory. Sales of harps increased year by year and Lyon & Healy became the largest importers of new and second-hand harps in the United States. Their European buyers were constantly on the lookout for good second-hand instruments and these, upon arrival in Chicago, were repaired and made ready for sale. It was in this practical manner that all the merits and demerits of the different makes of European harps became known to them.”7
The same article continues to describe the partnership between Patrick J. Healy, and arguably the most import inventor discussed here, the Superintendent of the Lyon & Healy factory, George B. Durkee. With Healy’s support, and an allocation of $10,000 (the equivalent of approximately 258,954 present-day euros), Durkee began research and development of the new Lyon & Healy harp (Lyon & Healy 1916, p. 10)
The Lyon & Healy Harp
Early Patents: The modern linkage system and the adjustable fourchette
Lyon & Healy produced their first harps for sale by March of 1889.8 The Lyon & Healy harp differed from earlier instruments in many ways, and the importance of the firm’s influence on the modern harp cannot be overstated. Of the innovations introduced by Lyon & Healy, the most notable, and the most widely replicated, are the adjustable fourchette, the modern linkage system, and the extended soundboard.
The development of the Lyon & Healy harp can be easily seen through the patents filed on the firm’s behalf by a select few inventors. The first of these were two patents, both filed in 1889 and published in 1890, were by a Lyon & Healy employee named George B. Durkee. These patents represent arguably the most important improvement to the pedal harp since Sébastien Érard’s invention of the double action in 1808.
The first harp by Lyon & Healy, built in 1889 and now housed in the Museo dell’Arpa Victor Salvi, employs the inventions described in these early patents. It exhibits several important departures from tradition. The illustrations in both of Durkee’s 1890 patents (no. 437,9179 and no. 437,91810) show a harp clearly modelled (in terms of ornamentation) on J.F. Browne’s 47-string gothic model. In contrast, the decoration of the 1889 harp is entirely original, featuring three un-gilded sections which were richly inlaid. The gilded ornament was carved from wood, rather than the compo-ornaments of previous instruments.
As stated earlier, prior to their manufacture of harps, Lyon & Healy had served as harp repairmen, sparking Patrick Healy’s interest in the instrument. It is apparent from these early patents that the inventors at Lyon & Healy used their extensive knowledge of issues that present themselves as harps age, trying their best to find practical solutions in their new design rather than blindly following a tradition of manufacture dating from nearly 100 years in the past
The Spring Adjuster
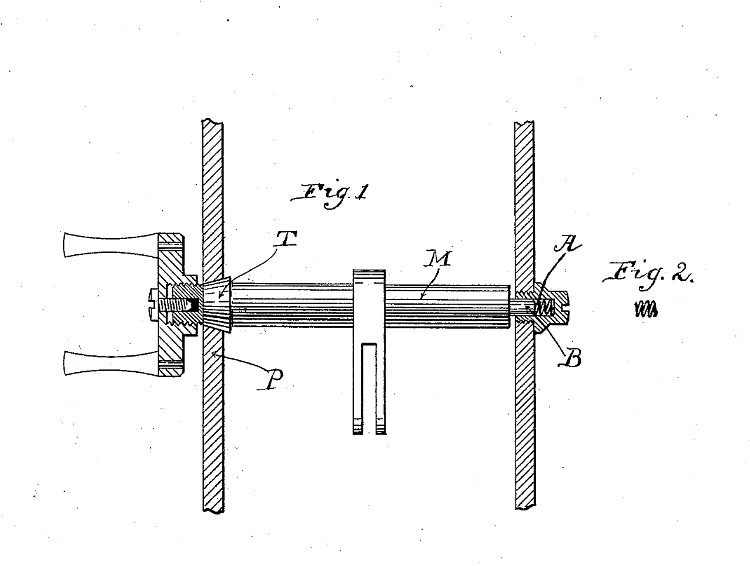
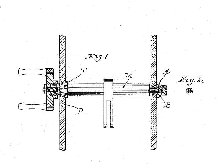
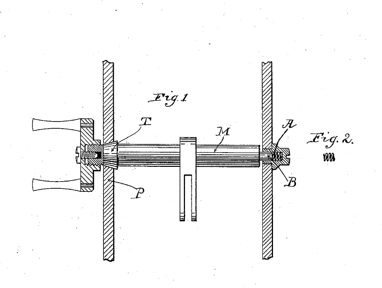
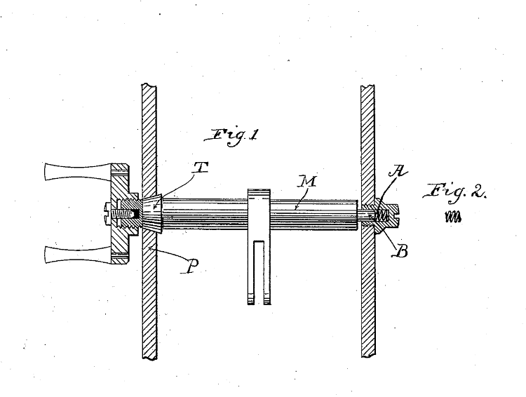
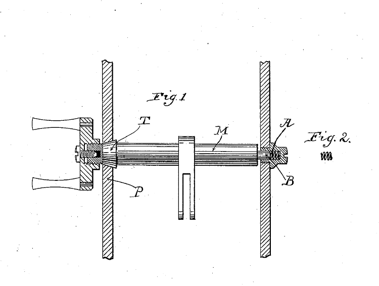
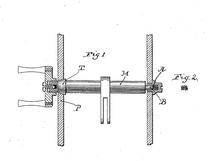
A less glamourous but no less important invention of Durkee’s was the “tapered spindle action,” patented in 1893.11 This patent featured two important updates to the design of the spindles. The first, a re-design of the end of the spindle where it exits the action plate. On harps made in the Érard tradition, the hole for the spindle to exit the mechanism was simply drilled to the appropriate size that the smaller section (see figure 28, A) fit through, while the larger, main portion was too large to pass through. The small nub on the opposite end of the spindle (B) worked in the same way, and the spindle was secured in place by a small screw, going through the brass plate and tightened just enough that it touched the spindle, preventing it from rattling and producing an unwanted noise, but not so much as to prevent it from turning. In the 1893 patent, Durkee cites the annoyance of harpists with extraneous mechanical noise from loose spindles and the opposite issue of pedals seizing up due to an overly tightened adjustor screw.
Walter I. Kirk’s Inventions
George B. Durkee was by no means the only inventor working at Lyon & Healy. Indeed, between 1890 and 1916, 17 patents had been granted to 3 different inventors working for the company, Durkee, Walter I. Kirk, and Melville Clark. Of the three, the most prolific was Kirk. Kirk was a remarkable inventor, and his output points to Lyon & Healy’s desire to make the harp more durable, as many of his inventions are concerned with eliminating or ameliorating problems that come with age. One such invention was the “unbreakable fibre neck” patented in 1915. Érard was the first to conceive lamination of the neck, so as to increase its longevity and slow the warping that inevitably comes with years of crushing pressure from the strings, but Érard’s necks only featured three laminations, hardly enough to have a considerable effect on the structural integrity.
Kirk’s patent shows a neck with a high density of lamination, likely in practice cut the same pin-block used on Lyon & Healy’s pianos. On this neck, the penultimate lamination is partially removed and replaced with a carbon fiber reinforcement (see figure 30).12
Lyon & Healy would produce harps using this truss until at least 1926, confirmed by the truss’s presence in a harp dated to that year in the collection of the author. The truss was eventually phased out of use for unknown reasons.
Size of the Lyon & Healy Harp
An important difference between Lyon & Healy’s harps and those of previous makers was the size. Although the maximum range of Lyon & Healy remained the standard 47 strings, from C1 to G7, but were noticeably taller. A 47-string Érard Gothic in the collection of the author measures approximately 171 cm from the base to the top of the pillar. Lyon & Healy’s 1889 catalogue lists the height of their largest model as 71 inches (180.34 centimeters).13 This increased to 72 inches in the 1916 catalogue (182.88 cm)14 and 74.5 inches (189.23 cm) in the 1935 catalogue15. This trend continues to this day, with the company’s tallest harp in production measuring 191 centimeters in height.16 This increase in height is paralleled by an increase in weight, with the heaviest instrument in 1899 weighing approx. 31.2 kg, the heaviest in 1916 weighing approx. 34.8 kg, the heaviest in 1935 weighing approx. 36.5 kg, and today’s heaviest instrument weighing approx. 39 kg. This increase in size and weight may correspond to a steady increase in string gauge during this period.
Stringing of the Lyon & Healy Harp
The proper stringing of early Lyon & Healy harps is the subject of no small amount of conjecture. What little information is known for certain comes from extant string gauges. Since strings are constantly broken and replaced, it is rare that a period instrument is strung with original strings, and the information gathered from such rare cases is near impossible to verify. Lyon & Healy's 1889 catalogue lists two types of strings for sale, labelled "German Superior Quality" and "Lyon & Healy Selected." (Lyon & Healy 1889, 45) This confirms that Lyon & Healy had already at this point started manufacturing strings. The catalogue indicates that the strings used at this time conformed to the 1829 string gauge widely circulated by Érard, which shows that the strings used at that time were lighter than modern strings by about 2 strings (such that, for example, 1829 E4 would be more or less identical to a modern day G4). The next catalogues from 1916 and 1935 interestingly make no mention of strings. Sadly precious little is known of how and when this increase in string gauge occurred, as string gauges are often discarded, are often not dated, and rarely survive into the present day.
Durkee’s new design was intended to reduce frictional stress on both ends, reducing wear, and by extension unwanted mechanical noise, as well as ensure that the spindles were constantly at the proper degree of snugness to turn easily, while not vibrating around. In his design, the spindle was not held in place by a screw, but by a spring. This spring was placed inside a hollow screw which in turn screwed into the action plate overtop of the spindle’s end, such that the spring, but not the screw, provided the pressure needed to keep the spindle from vibrating. He combined this with a tapered “collar” at the opposite end of the spindle to yield a design both easier to maintain and more durable in the face of constant motion of the pedals, pictured below in figure 29. (Durkee, 1893)
Kirk’s final major invention is one that has oddly not survived to the modern day. In 1916, Kirk was granted U.S. patent no. 1,167,504 for a metal truss, to be fixed to the center strip in the inside of the soundboard, with the goal of reinforcing the board.17 The patent also describes a corresponding truss to be affixed on the outer side, though this exterior truss was abandoned.
Reception of the Lyon & Healy Harp
The 1890 catalogue features a whopping 58 endorsements, many of them from the top performers of the time, including Charles Oberthür, former professor at the Royal Academy of Music, John Cheshire, harpist to the Duke of Edinburgh, and Thomas Aptommas who, in his endorsement of the company wrote that
"You [Lyon & Healy] are the only house that has made any material improvement, for half a century, in harp building." (Lyon & Healy 1889, p. 38)
Soon, Lyon & Healy harps would make their way around the world, and the 1916 catalogue boasts of the use of their instruments in the Royal Opera Houses of Berlin, Leipzig, Vienna, Cologne, Dresden, Frankfurt, Hamburg, Mannheim, Bayreuth, Copenhagen, Amsterdam, Stockholm, Christiania, St. Petersburg, Moscow, Odessa, and Prague, as well as in the Gewandhaus Orchestra in Leipzig, the Tonhalle in Zurich, the Chicago Grand Opera, the Boston Symphony Orchestra, the Metropolitan Opera, the New York Philharmonic, the Philadelphia Grand Opera, the Philadelphia Symphony Orchestra, the Montréal Grand Opera, the Cincinnati Symphony, the Havana Grand Opera, the Los Angeles Symphony, the Chicago Symphony, the St. Louis Symphony, the San Francisco Symphony, and the Detroit Symphony. (Lyon & Healy 1916, p. 15)
If success can be measured in longevity, Lyon & Healy can certainly claim success, being one of only a handful of harp makers still active today, a group from which one name, that of Érard, is conspicuously absent. Today, Lyon & Healy remains a leading maker of this most complex of instruments.
Decorative Elements of Lyon & Healy Harps
Lyon & Healy's 1889 catalogue features six distinct models, each named with a number: the style 11, a 43-string single action (and the only single action model), the 45-string style 20, the 45-string style 21, the 45-string style 23, the 45-string style 22, and the 47-string style 25. (Lyon & Healy 1889, p. 36-41) Every instrument was gilded, but the decoration was carved from wood, this quality being listed in a summary list of improvements mentioned in the 1st catalogue. (Lyon & Healy 1889, p. 32)
The single action style 11 featured decoration reminiscent of Érard's single action instruments, but in a distinctive, more fluid style. Each 45-string instrument was decorated quite similarly, the variations being relatively minor. In contrast to the Gothic harp, the 45-string harps were rounded and organic, with intricate sunken relief details in the bands near the top of the pillar (see figure 32). This made Lyon & Healy the first company to truly depart, in a meaningful way, from the Érard styles, in quite some time.
Browne’s earliest advertisements make note of two important points that will remain relevant for years to come in the American harp market: import cost and climate.18 Almost a quarter of the land area of the United States exhibits a humid subtropical climate, extending on the east coast from Philadelphia, south to the tropical portion of Florida, and East from Philadelphia to the foothills of the Rocky Mountains in central Kansas and Nebraska. This climate type exists in Europe only in certain parts of Northern Italy, Serbia, Croatia, and the Black Sea-adjacent area of Russia’s Krasnodar Krai.
Climate-appropriate construction would be a common theme in advertising of American-made harps, although the precise distinction between American harps by Hanley and Browne is not apparent. The glue used in European harps was animal glue, made through a prolonged process of boiling connective tissue of various animals. This type of adhesive dissolves easily with the application of heat and moisture, so it is not unreasonable to theorize that harps constructed using animal glue might suffer degradation in the hot, humid climate of the Eastern United States; however, the precise type of adhesive used in early American harps by Browne remains undetermined.
In reality, the design of the first American harps, namely those by Browne and Hanley, differed little from that of Érard. Browne produced four distinct models, one a 47-string gothic, another a 46-string Gothic, a model later referred to as a “lady’s Gothic” due to its small size with 44 strings, and a Grecian model of the same range (see figure 22).
Despite the innovation of the other models, the Gothic design, though not reproduced exactly, does make an appearance in the largest harp, the style 25 (see (figure 33). The Lyon & Healy style nonetheless comes through in the coiled, almost organic looking feet and the extensive use of sunken relief decoration.
Harps by Browne differed from Érard’s design in only three ways: the design of the feet, the veneered soundboard, and the wood used. Browne’s three smaller models all featured distinctive, oversized carved feet which identify them in many American paintings from the time, such as John George Brown's The Music Lesson, now housed in the Metropolitan Museum in New York (see figure 23) while the feet of the largest 47-string model where identical to those of Érard’s English harps. Browne is known to have used different types of wood from Érard in the pedal box and the column. An 1849 harp by Browne (no. 2805) in the collection of the author features a birch-wood pedal box, and a heavy, as yet unidentified seemingly tropical hardwood column.
Figure 31-Engraving acknowledging the patent for the washer on a Lyon & Healy style 23 harp, built in 1926, collection of the author
Figure 25-Illustration from The Lyon and Healy Harp, Lyon & Healy's first catalog, 1889, of a single chain with other elements removed.
Figure 22-An advertisement preserved in the U.S. Library of Congress showing Browne's 4 models, from left to right, the 46-string Gothic, the Lady's Gothic, the Grecian, and the 47-string Gothic, ca. 1853.
Video 4-An excerpt from Gershwin's Rhapsody in Blue performed by the author on a Lyon & Healy style 23 harp built in 1926.














